Tag: patents

Important Components Of IP Protection That Influence Business Success
It is not only important for a business owner to understand all the factors to be considered when you intend to seek protection of intellectual proper ...

New Apple Patents Suggest Car Location Feature For iPhone Or iWatch
Here we go again! New Apple patents mean more speculation, and we're not shy about jumping on the rumor train. That is in no way saying we'll accept t ...

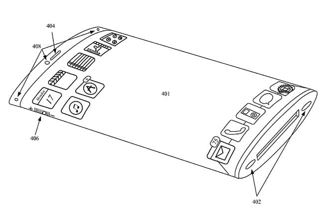
Apple Patents Flexible Wraparound Display Smartphone
Most people are wondering whether or not Apple will actually pursue and release a flexible smartphone. In many people's eyes, it's a concept that woul ...
3 / 3 POSTS