Here we go again! New Apple patents mean more speculation, and we’re not shy about jumping on the rumor train. That is in no way saying we’ll accept these rumors (or patents) as something that will actually materialize anytime soon, but the fact that Apple is pushing for new features and actually patents them is a good sign. Even though these Apple patents may just be a way to secure future business, it’s by filing one Apple patent at a time that Apple will once again innovate.
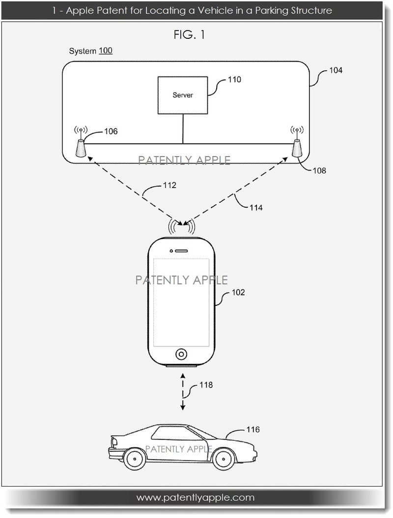
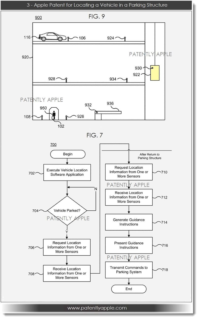
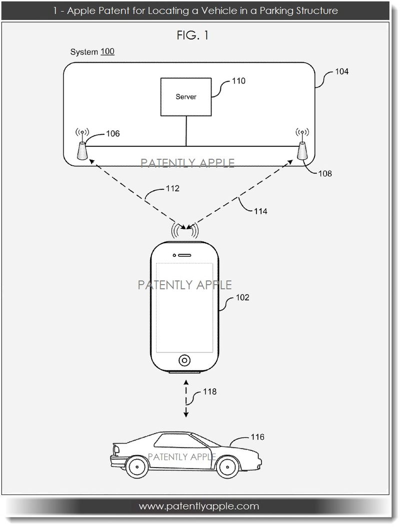
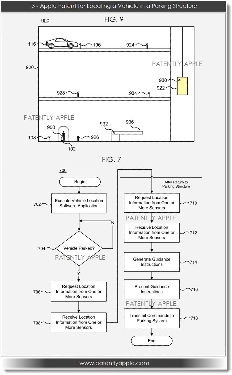
A couple new Apple patents have stirred up the Internet once again. This time around, they suggest Apple is thinking about adding some interesting “find my car” features to the iPhone (or whatever device they want to use it in). Maybe these new Apple patents are meant for their iWatch, which would make the most sense really. I mean, the iPhone is cool and all, but adding this feature to their rumored iWatch would make the watch a whole lot more appealing. Imagine being able to accurately spot your car anywhere in a chaotic parking garage by just looking at your watch – that’s optimization and innovation.
Furthermore, if the iWatch (or the iPhone) could be authenticated by your car or vice versa, you would be able to initiate the ignition, which would make for an optimized approach when driving. This could actually be what the second Apple patent suggests. Whether these Apple patents will become reality or not is of course hard to say, but the mere fact that they are filing them is a nudge to us that they really are working on innovating again.
Adding these features to the iPhone doesn’t really make sense. You would have to bust out your iPhone every time you wanted to find your car or start it. The more optimized solution would be to add it to their flexible screen iWatch, and that way, create an optimized and instant way of locating and starting your car. We’ll see what Apple reveals this year. Tim Cook recently said they have a whole lot of groundbreaking hardware and software to release this year. Once again, the excitement rises.
New Apple Patents – Car Location Feature
(Click Images To Enlarge)
Via: [Patently Apple] Header Image: [allOver photography/Alamy]





COMMENTS