Most people are wondering whether or not Apple will actually pursue and release a flexible smartphone. In many people’s eyes, it’s a concept that would make Apple look like they are innovating again. Every tech company is pretty much trying to be first with a device like this. It could mean a huge lift for Apple if they actually manage to once again make a new technology popular. There have been a lot of Apple patents filed in the past, but a recent one might stir up more interest than most.
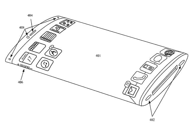
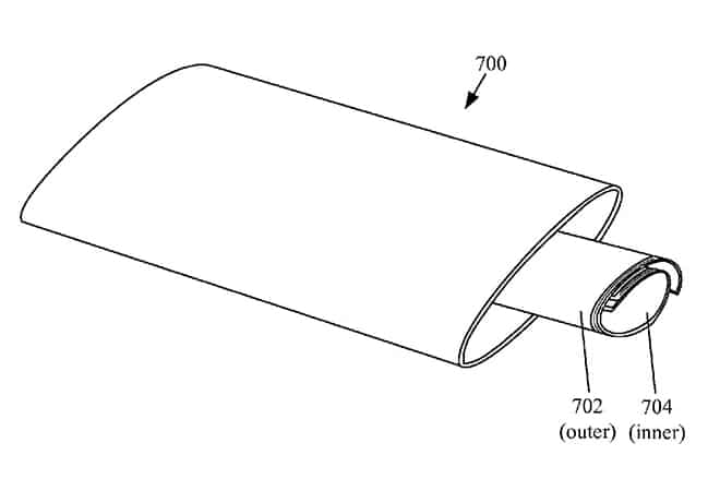
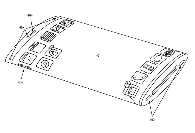
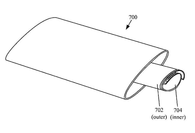
The recent Apple patents filed are interestingly for a flexible wraparound display smartphone. The patent sketches show it uses the usual iOS we are used to, which of course suggests that they are actually thinking about creating one, or they might already have a prototype. The hardware itself looks kind of unique, but it feels a little bit dated. However, the intention of actually creating a first generation flexible smartphone is of course quite exciting.
We have to be careful about getting our hopes up too high since Apple patents have been known to be more of a competitive countermeasure to make sure other companies can’t snatch and grab patents before Apple. It’s a common strategy used by almost every major company in the world. I have mentioned it in the past as well, but some companies patent new technologies just because the patent would make their current revenue earning technology obsolete. Simply explained, they file it just to make sure they can put the competition away so they can keep selling their inferior product.
So, is there any substance in these Apple patents, and how big is the chance that Apple is actually going to announce a flexible iPhone in the near future? Well, let’s put it this way, Apple patents have never been known to become a reality in a hurry. I would probably say that there is a bigger chance of Apple releasing an iTV instead of a flexible iPhone, especially one that looks like this. But, I can of course be wrong (and I reserve the right to be wrong since I want nothing more than these innovations to be realized), but everything about Apple right now is pointing in a different direction. These Apple patents might suggest huge innovation, but with the state of the company right now (with people getting fired, switched out or upgraded, and with the stock in decline), we can only hope they understand the importance of being first with a device like this.
Apple Patents – Flexible Wraparound Display Smartphone
Via: [Forbes]




COMMENTS